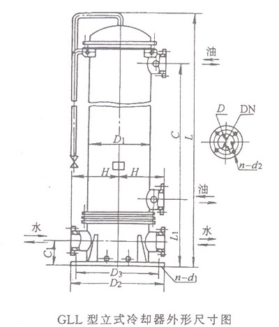
GLL 型冷卻器

 |
|
型號 |
L |
C |
L1 |
C1 |
H |
D1 |
D2 |
D3 |
DN |
D4 |
n-d1 |
n1-d2 |
重量 (kg) |
|
GLL5-35L |
2610 |
1692 |
470
|
150 |
315 |
426
|
640
|
590 |
80 |
160 |
6-ø30 |
8-ø17.5
|
735 |
|
GLL5-40L |
2880 |
1962 |
805 |
|
GLL5-45L |
3120 |
2202 |
100 |
180
|
855 |
|
GLL5-50L |
3390 |
2472 |
940 |
|
GLL5-60L |
3930 |
3012 |
1065 |
|
GLL6-80L |
3255 |
2015 |
705
|
235
|
500
|
616 |
1075
|
1015 |
125 |
210 |
6-ø40 |
1670 |
|
GLL6-100L |
3855 |
2615 |
1945 |
|
GLL6-120L |
4455 |
3215 |
150 |
240 |
8-ø22
|
2220 |
|
GLL7-160L |
3320 |
2010 |
715
|
602 |
820 |
1210 |
1150 |
2770 |
|
GLL7-200L |
3970 |
2660 |
200 |
295 |
3340 | |
|
注:GLCA型與GLC型外形尺寸相同,油、水口有螺紋和法蘭兩種冷卻器 |
|
我廠將根據客戶來樣來圖非標產品進行設計,報價.. | |